
MOSTRA CONVEGNO EXPOCOMFORT'ta İhracatçı Firmalarımız Başarıyla Yer Aldı
COPA Isı Sistemleri: Geleceğe Güven Veren Yeşil Dönüşüm Yolculuğu
44. MCE-Mostra Convegno Expocomfort, Küresel Başarıyla Sona Erdi
Buhar Odası ve Isı Borusu ile Isı Yönetimi
Yıl Boyu Helikopter İnişleri için Açık Alan Isıtması
Warmhaus Glowa'yı Yurtiçi Pazara Sundu
|
Isı Pompası Destekli Güneş Enerjisi İle Su Damıtma![]()
Bu çalışmada, güneş enerjisinden yararlanılarak deniz suyunun kullanım suyu haline getirilmesi ve soğutulması amaçlanmıştır. Sisteme ısı pompası da eklenerek damıtma miktarı araştırılmıştır. Damıtma havuz yüzeyi 0,5m2, kollektör eğimi 30° ve damıtılan su yüksekliği 1 cm seçilmiştir. Isı pompası için 1/6 HP’lik bir kompresör, soğutucu akışkan olarak R134a kullanılmıştır. Damıtma sisteminin ve ısı pompasının belirlenen noktalardaki sıcaklıkları, buharlaşma ve damıtılan su miktarları ölçülerek elde edilen sonuçlar incelenmiştir. Isı pompası kullanımının sadece güneş enerjisiyle damıtmaya nazaran %35 daha fazla damıtma sağladığı tespit edilmiştir.
Giriş
Küresel ısınma, iklim değişiklikleri, nüfus artışı, sanayileşme ve etkin tarım faaliyetlerinin dünyanın kısıtlı yeraltı ve yerüstü kaynaklarını tükettiği bir gerçektir. Sanayileşme ve gelişme hamlelerine paralel olarak ülkemizde de kaynak tüketimi hızla artmaktadır.
Dünyada ve ülkemizde su kaynaklarının giderek tükenmesi ve mevcut su kaynaklarının kullanılamayacak duruma gelmesi, su temini konusunda çalışmaları zorunlu kılmaktadır.
Özellikle, su gibi doğal bir kaynağın tüketilerek geriye dönüşünün mümkün olmaması, bizleri bu kaynakları koruyacak ve kurtaracak teknolojileri kullanmaya ve geliştirmeye mecbur kılmaktadır.
İçme ve kullanma suyuna duyulan ihtiyacın artması, bilim adamlarını arayışlara ve bu konuda çalışmalar yapmaya zorlamıştır. Dünya üzerindeki su potansiyelinin yalnızca % 0,5’i içilebilecek nitelikte olup, % 97’si deniz suyu, % 2,5’i ise tuz içermesinden dolayı tuzlu yeraltı suyu olarak sınıflandırılmaktadır.
Söz konusu tuzlu sular, içilebilecek nitelikte suya dönüştürülürse su temini açısından sınırsız bir potansiyel elde edileceği açıktır. Son yıllarda, çoğu kurak ve kıraç bölgelerde deniz suyundan içme suyu elde edilmiştir.
Geleneksel damıtma işlemlerindeki Ters ozmos (TO), Çok Aşamalı Flaş (MSF), Çok Etkili Damıtma (MED), Elektrodiyaliz (ED) vb. yeni çalışmalar maliyetin azaltılmasına yöneliktir [1].
Güneş enerjisiyle damıtmadaki temel teori, doğada var olan su çevriminin minyatür olarak yeniden yapılandırılmasıdır.
Küresel su çevriminde güneş, su kaynaklarını ve yüzey sularını buharlaştırır, hayvan ve bitkilerde solunuma sebep olur.
Atmosferdeki nem arttıkça buhar bulutlarda yoğunlaşır ve uygun soğutma koşulları ile dünyaya yağmur olarak geri döner. Güneş enerjili havuzla damıtma işlemi dünyada doğal olarak gerçekleşmektedir [2]. İlk yapılan damıtıcıların mantığı bu çevrime dayanmaktadır.
Geliştirilen damıtma sistemleri de bu prensibe göre çalışır. Damıtma havuzuna alınan tuzlu su, güneş enerjisiyle buharlaştırılır. Buharlaşan su, daha soğuk saydam örtüde yoğunlaşır. Yoğunlaşan su toplanarak içilebilir ve kullanılabilir su elde edilir.
Yapılan çalışmada; Düzce ili koşullarında, Karadeniz’den (Akçakoca-Ereğli sahillerinden) temin edilen deniz suyundan ısı pompası ilave edilmiş basit bir güneş enerjili damıtıcı kullanarak, tatlı su elde edilmiştir. Isı pompasının güneş enerjili damıtma sistemine etkileri incelenmiştir.
Damıtılan suyun miktarındaki değişmeler, soğutucu akışkanın yoğuşma ve buharlaşma sıcaklıkları ölçülmüştür.
Çalışmanın Önemi
Son yıllarda başta küresel ısınma olmak üzere birçok nedenden dolayı su çok değerli bir kaynak olmaktadır. Dünyamızda nüfusun sürekli artması ve su kaynaklarının azalması ile birlikte içme suyu sıkıntısı yaşanmaktadır. Günümüzde dünyada ciddi bir temiz su sıkıntısı yaşanmaktadır.
Su kaynaklarının kirlenmesi ve nüfus artışı yüzünden 2025’ li yıllarda nüfusun üçte ikisi temiz su sıkıntısı çekecektir. Su sıkıntısı daha çok kuzey Afrika ve güney Asya ülkeleri gibi kurak alanlarda yaşanmaktadır (15° -35° Kuzey enlemlerinde).
Bu durum karsısında en geçerli çözüm güneş enerjisiyle damıtma olarak görülmektedir. Temiz suya en çok ihtiyaç duyan yerler aynı zamanda yoğun güneş enerjisine sahip yerlerdir. Bu yüzden de termal güneş enerjili damıtma işlemi, uygulanabilecek en etkili yöntemdir[3].
Yapılan çalışmada; Düzce ili koşullarında, Karadeniz’den (Akçakoca-Ereğli sahillerinden) temin edilen deniz suyundan ısı pompası ilave edilmiş basit bir güneş enerjili damıtıcı kullanarak, tatlı su elde edilmiştir. Isı pompasının güneş enerjili damıtma sistemine etkileri incelenmiştir. Damıtılan suyun miktarındaki değişmeler, soğutucu akışkanın yoğuşma ve buharlaşma sıcaklıkları ölçülmüştür.
Deneysel Sistem
Yapılan deneylerde Düzce ili koşullarında bir güneş enerjili su damıtıcısının performansını etkileyen parametreler olan “ortam sıcaklığı, rüzgâr hızı, havuz içerisindeki su derinliği, sisteme ilave edilen ısı pompası”nın damıtma miktarı, üzerindeki etkileri incelenmiştir.
Bu deneylerin sonuçlarına dayanılarak, mevcut koşullardan daha fazla yararlanılabilecek, performansı daha fazla olabilecek yeni güneş damıtıcısı dizaynları için önerilerde bulunulmuştur.
Bunun haricinde damıtma sistemindeki; dış ortam sıcaklığı, damıtılan su sıcaklığı, damıtılmış suyun sıcaklığı, soğutucu akışkan evaparatör çıkış sıcaklığı, soğutucu akışkan kompresör giriş sıcaklığı, soğutucu akışkan kompresör çıkış sıcaklığı, soğutucu akışkan genleşme vanası giriş sıcaklığı, soğutucu akışkan buharlaşma sıcaklığı, soğutucu akışkan yoğuşma sıcaklığı gibi parametrelerin ölçümü için 9 adet termokupl ve bağımsız çalışan model dijital termometre cihazları kullanılmıştır.
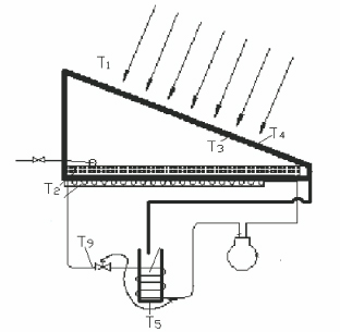
Şekil 1’de damıtıcının ön görünüşü ve elemanların isimleri verilmektedir.
![]()
Depoda sürekli olarak deniz suyu bulunmaktadır. Amaç, damıtma sistemine direkt denizden suyu alıp kullanmaktansa burada depolamanın ısı yönünden avantajlı olduğu görülmüştür. Bu deponun içerisinde sürekli deniz suyu bulunacağından havuzdaki su damıtıldıkça ve eksildikçe depodan su ilave edilmiştir. Böylece havuza alınan deniz suyunun ısısı, güneş ışınımı almış olduğu için artacaktır.
Siyah mat renge boyanmış damıtma havuzundaki deniz suyu, güneş ışınımı vasıtasıyla ısınarak sıcaklığı yükselmiştir. Ayrıca sisteme ısı pompası ilave edildiği için yoğuşma havuzunun altında bulunan kondenser sayesinde güneş enerjisine ilave olarak kondenserde damıtılacak suyun sıcaklığını yükseltecek ve yoğuşmaya katkısı gözlemlenmiştir.
Sıcaklığı yükseldikçe buharlaşmış üstteki cam örtüde yoğuşmuştur. Daha sonra üst yoğuşma örtüsündeki eğimden dolayı yoğuşan su, damlacıklar halinde aşağı doğru akmış ve damıtma havuzunun iç, yan kısımlarına yerleştirilmiş toplama kanallarına alınmıştır.
Buradan da havuzun dışına taşınacak ve toplama kabında depolanmıştır. Depolanan su aynı zamanda evaparatör vasıtası ile soğutulması sağlanmıştır.
Damıtma havuzu, sudan etkilenmemesi için epoksi astar ve onun üzeri de siyah mat boya ile boyanmıştır. Bu astar sayesinde su, yüzeyler üzerinde aşındırıcı bir özellik sergilemeyecek ve sistemin performansını etkilemeyecektir.
Deney Sonuçlarının Değerlendirilmesi
Deneyler 21 Haziran - 5 Temmuz tarihlerinde 8:00 ile 20:00 saatleri arasında yapılmıştır. Bu süre içerisinde hem ısı pompası devredeyken hem de ısı pompası devrede olmadan ölçümler yapılmıştır.
Şekil 2’de deney yapılan günlere ait sıcaklık ölçüm noktalarından alınan ortalama değerler grafiksel olarak verilmiştir.
![]()
Şekil incelendiğinde ölçülen sıcaklık değerlerinin dış ortam sıcaklığıyla paralel bir değişim gösterdiği görülmektedir. Özellikle güneş ışınımının yüksek olduğu öğle saatlerinde her bir ölçüm noktası için sıcaklık değerlerinin arttığı gözlemlenmektedir.
Saat 16 ve 18 arasında dış yüzey cam sıcaklığındaki hızlı düşüş güneş radyasyonunun çok azaldığını göstermektedir. 18 ve 20 saatleri arasındaki artışın sebebi ısı pompasın devreye girmesiyle birlikte kabin içerisindeki sıcaklık artışının cam yüzey sıcaklığını etkilemektedir.
Şekil 3’te deney yapılan günlere ait damıtılan su miktarları verilmiştir. Damıtılan su miktarları ortalama güneş radyasyonu değerleri ile doğru orantılıdır.
Güneş radyasyonunun artması suyun buharlaşmasını arttıracaktır.
Şekil incelendiğinde deneylerin ilk 3 günü damıtılan su miktarının artış gösterdiği daha sonra ise düşüşe geçtiği gözlemlenmektedir.
Öneriler
Sonuçlardan elde edilen bilgilere göre ileride yapılacak çalışmalar için aşağıdakiler öerilebilir;
Bu çalışmada Düzce ili iklim şartları için deneyler yapılmıştır. Bu çalışma farklı iklim şrtları için yapılarak verim karşılaştırılabilir.
Yapılan çalışmalarda farklı yüzey alanları ve alternatif yoğuşma örtüleri denenebilir. Yapılacak çalışmalarda başka soğutucu akışkanlarda denenebilir.
Yapılan bu çalışma farklı aylarda yapılarak ısı pompasının sisteme etkisi incelenebilir.
Kaynaklar
[1] Can, M., Etemoğlu, A.B. ve Avcı, A., “Deniz suyundan tatlı su eldesinin teknik ve ekonomik analizi”, Uludağ Üniversitesi Mühendislik-Mimarlık Fakültesi Dergisi, 7(1):147-160 (2002).
[2] Perlin, J. and Gordes, J.N., “An historical and prospective review of solar water purification, bringing water to the world”, ASES, Riverton, Santa Barbara, 80- 95 (2005).
[3] Lindblom, J., “Solar Thermal Technologies for Seawater Desalination”, Renewable Energy Sytems, Lulea University of Technology, 2-5 (2003).
İlginizi çekebilir... Jeopolitik Belirsizlik Çağında Operasyonel Kale: Endüstriyel Yapay Zeka ile Risk ve Gecikmeleri YönetmekDünya ekonomisi, tarihin en karmaşık ve öngörülemez dönemlerinden birinden geçiyor. Küresel enerji koridorlarındaki gerilimler, tedarik zinciri kırılm... Su Armatürlerinde GürültüSu armatürleri içerisinden suyun akışı esnasında oluşan gürültü seviye olarak zaman zaman rahatsız edici seviyelere ulaşmaktadır. Bu yazıda su armatür... Alev-Duman Borulu Buhar Kazanlarında Yüzeysel Buharlaşma Hızı Limitlerinin Mühendislik Açısından DeğerlendirilmesiAlev""duman borulu buhar kazanlarında su""buhar ara yüzeyinde gerçekleşen yüzeysel buharlaşma hızı, buhar kalitesi ve su sürüklenm... |
|||||||||||||||
©2026 B2B Medya - Teknik Sektör Yayıncılığı A.Ş. | Sektörel Yayıncılar Derneği üyesidir. | Çerez Bilgisi ve Gizlilik Politikamız için lütfen tıklayınız.